Výkonný L3 switch se 16 Gigabit Ethernet porty a pokročilými funkcemi pro správu sítě.
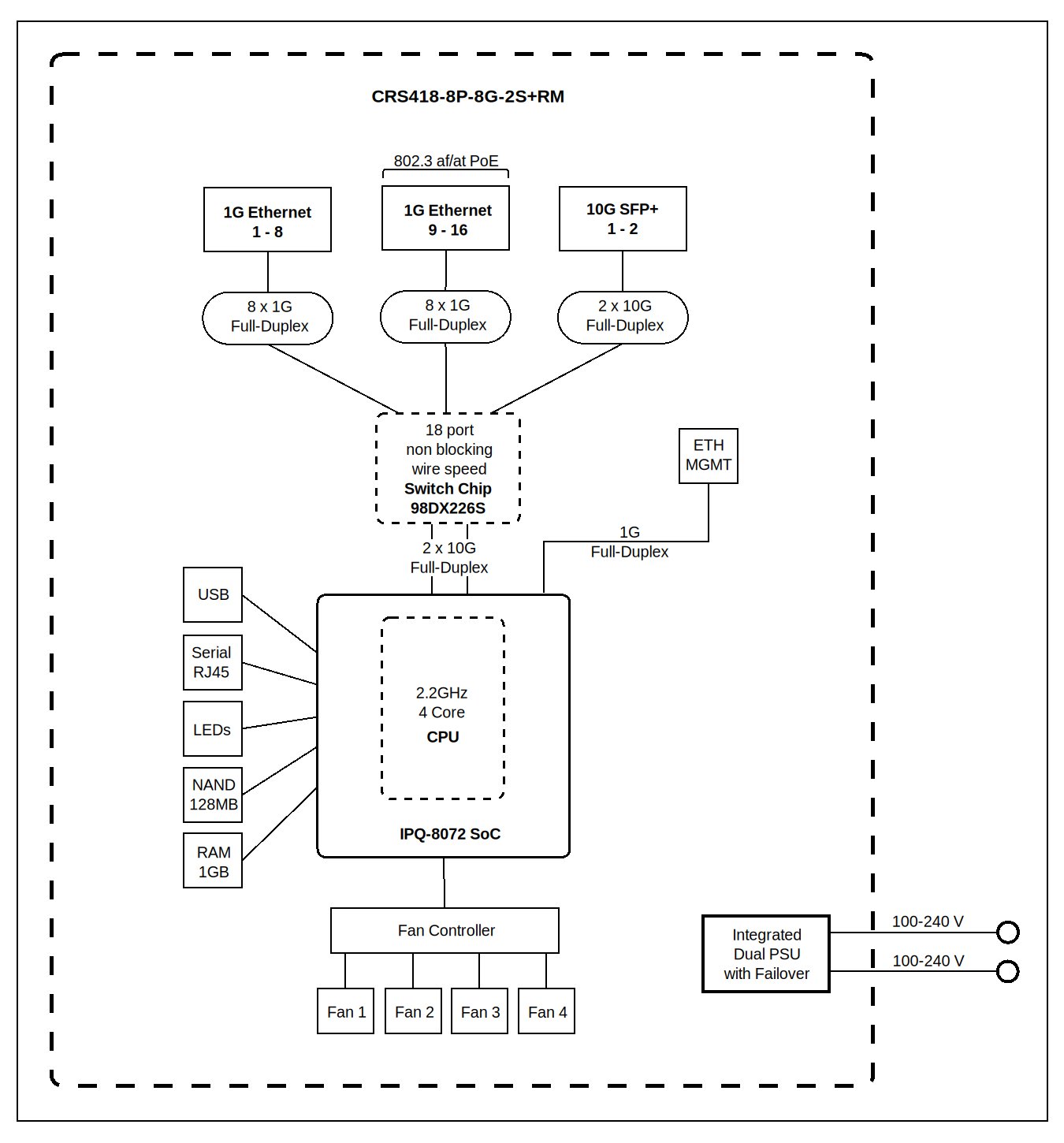
MikroTik CRS418-8P-8G-2S+RM představuje multifunkční síťové zařízení, které kombinuje výkonný switch s možnostmi routeru. Díky výkonnému 4jádrovému procesoru ARM 2,2 GHz a hardwarové akceleraci L3 provozu zvládá i náročné síťové operace. Zařízení disponuje 16× Gigabit Ethernet porty (z toho 8 s podporou PoE-out) a 2× 10G SFP+ porty pro vysokorychlostní připojení.
Switch je vybaven 1 GB DDR3L RAM, 128 MB NAND úložištěm a portem USB 3.0 pro rozšíření úložného prostoru. Provozován je na operačním systému RouterOS v7 s licencí úrovně 5, který nabízí pokročilé možnosti správy sítě, včetně VLAN, ACL, SNMP a mnoha dalších funkcí.

Pokročilý síťový operační systém RouterOS v7
Zařízení běží na plnohodnotném operačním systému RouterOS v7, který nabízí kompletní sadu nástrojů pro správu sítě. Umožňuje konfiguraci VLAN, ACL, SNMP, pokročilý monitoring a tvarování provozu bez dodatečných poplatků nebo předplatného.
Smart PoE Controller
Integrovaný Smart PoE Controller umožňuje napájet připojená zařízení přímo ze switche s podporou standardů 802.3af/at a 24V Passive PoE. Porty Ether9 až Ether16 podporují PoE-out s možností nastavení limitů proudu pro každý port a celkovým výstupním výkonem až 150 W.
Univerzální nasazení
CRS418-8P-8G-2S+RM je ideální pro hybridní síťová prostředí Layer 2/3, ať už segmentujete síť pomocí VLAN nebo směrujete provoz mezi nimi. Díky výkonnému procesoru může nahradit běžné kancelářské routery a fungovat jako internetová brána, firewall nebo dokonce jako CAPsMAN kontroler pro správu přístupových bodů.

ZÁKLADNÍ SPECIFIKACE
Procesor: quad-core IPQ-8072 2,2 GHz, ARM 64bit
Switch chip: 98DX226S
Operační paměť: 1 GB DDR3L
Úložiště: 128 MB NAND
Síťové porty: 16× Gigabit Ethernet, 2× 10G SFP+, 2× RJ-45 management port a konzole
USB: 1× USB 3.0 typ A
PoE-Out: 802.3af/at, porty Ether9 - Ether16
Maximální výstupní výkon PoE: 150 W
Napájení: 2× AC vstup 100-240 V
Maximální spotřeba: 215 W (28 W bez připojených zařízení)
Operační systém: RouterOS v7, licence úrovně 5
Rozměry: 443 × 230 × 44 mm (1U rackmount)
Provozní teplota: -20 až +70 °C
Obsah balení: 2× napájecí kabel, rackmount držák, montážní sada
| CRS418-8P-8G-2S+RM | |||||||
|---|---|---|---|---|---|---|---|
| Mode | Configuration | 1518 byte | 512 byte | 64 byte | |||
| kpps | Mbps | kpps | Mbps | kpps | Mbps | ||
| Switching | Non blocking Layer 2 throughput | 3,007.2 | 36,518.9 | 8,693.6 | 35,609.0 | 55,059.5 | 28,190.5 |
| Switching | Non blocking Layer 2 capacity | 3,007.2 | 73,037.7 | 8,693.6 | 71,218.0 | 55,059.5 | 56,381.0 |
| Switching | Non blocking Layer 1 throughput | 3,007.2 | 37,000.0 | 8,693.6 | 37,000.0 | 55,059.5 | 37,000.0 |
| Switching | Non blocking Layer 1 capacity | 3,007.2 | 74,000.0 | 8,693.6 | 74,000.0 | 55,059.5 | 74,000.0 |
| CRS418-8P-8G-2S+RM | IPQ-8072A All port test | ||||||
| Mode | Configuration | 1518 byte | 512 byte | 64 byte | |||
| kpps | Mbps | kpps | Mbps | kpps | Mbps | ||
| Bridging | none (fast path) | 406.4 | 4934.8 | 1136.6 | 4655.5 | 1253.3 | 681.8 |
| Bridging | 25 bridge filter rules | 389.9 | 4735.4 | 403.5 | 1652.7 | 413.6 | 225 |
| Routing | none (fast path) | 406.4 | 4934.8 | 850.6 | 3484 | 891.2 | 484.8 |
| Routing | 25 simple queues | 374.2 | 4544.5 | 389 | 1593.5 | 391.6 | 213 |
| Routing | 25 ip filter rules | 269.9 | 3277.9 | 277.5 | 1136.7 | 276.3 | 150.3 |
| CRS418-8P-8G-2S+RM | IPQ-8072A IPsec throughput | ||||||
| Mode | Configuration | 1400 byte | 512 byte | 64 byte | |||
| kpps | Mbps | kpps | Mbps | kpps | Mbps | ||
| Single tunnel | AES-128-CBC + SHA1 | 109.2 | 1223.0 | 124.6 | 510.4 | 137.9 | 75.0 |
| 256 tunnels | AES-128-CBC + SHA1 | 54.9 | 614.9 | 59.1 | 242.1 | 62.3 | 33.9 |
| 256 tunnels | AES-128-CBC + SHA256 | 54.1 | 605.9 | 58.4 | 239.2 | 61.2 | 33.3 |
| 256 tunnels | AES-256-CBC + SHA1 | 53.1 | 594.7 | 57.2 | 234.3 | 60.7 | 33.0 |
| 256 tunnels | AES-256-CBC + SHA256 | 53.9 | 603.7 | 58.6 | 240.0 | 61.2 | 33.3 |